

全國免費客服電話 0519-86578911 郵箱:wokclutch@aliyun.com
手機:13506119400
電話:0519-86578911
地址:常州新北區禾佳路9號
發布時間:2021-06-01 15:09:57 人氣:
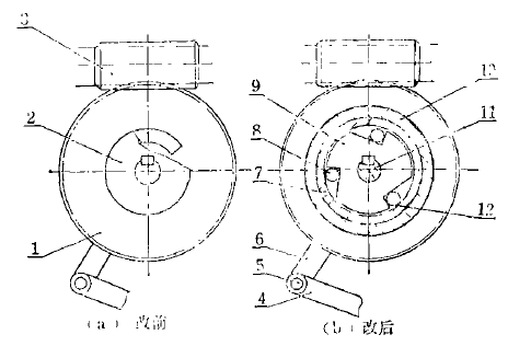
平行加壓整經機上落軸的離合器是由蝸輪與另一個固定在傳動軸上的連接塊圖組成的。上軸動作是利用加壓重錘的重力拖動經軸實現的這時蝸輪為主動。因此,當經軸盤片與滾筒未對齊時,經軸和傳動軸停止運動,但蝸輪在蝸桿的傳動下繼續轉動,與傳動軸上的連接塊分離。當經軸與滾筒對齊后,經軸在加壓重錘的拖動下,會向滾筒發生沖擊運動,使蝸輪上的凸塊與連接塊上的凸塊發生撞擊而損壞,或者使重錘滑輪的支撐桿斷裂。根據上述情況,我們改用單向離合器圖,解決了上述問題,其作用原理如下:
1.上軸時,經軸在重錘的拖動下向滾筒運動,經軸驅動連桿,曲柄使單向離合器內的星形爪按順時針方向運動,由于滾柱的作用,阻止經軸運動。但蝸輪在蝸桿的帶動下順時針轉動,使滾柱向星形爪缺口的大端運動消除阻滯作用,從而使經軸上軸。當經軸盤片與滾筒未對齊時,蝸桿帶動蝸輪空轉,不會發生沖擊運動。
2.卷繞時,蝸輪靜止不動,隨著紗線的卷繞,經軸的直徑不斷增大,帶動連桿、曲柄使星形爪按逆時針方向運動,這時滾柱始終在星形爪缺口的大端,不會阻礙經軸卷繞直徑的增大。落軸時,蝸輪逆時針轉動,使滾柱向星形爪缺口的小端方向運動,傳動星形爪逆時針轉動,完成落軸的動作。

附圖上、落軸蝸輪、蝸桿傳動圖
1-蝸輪;2-連接塊;3-蝸桿;4-連桿;5-小軸;6-曲柄;7-鐵環;8-滾住;9-星形爪;10-蝸輪圈;11-傳動軸;12-缺口。
相關推薦